Home      Kontakt        Impressum      Sitemap      Languages      English      WIAP MEMV       Neumaschinen      Umbauten     Filme

                                                                                                                                   

                                                                             

  Patente 2019      Vibrationsvorrichtung und Verfahren zur Vibrationsentspannung von Werkstücken                               

         

Patentanmeldung 2019/7     Patentanmeldung 2019/7 Vibrationsvorrichtung und 

                                                                                     Vibrationsentspannung

Hinterlegbescheinigung Patent 2019/7     Patent 2019/7 Vibrationsvorrichtung und Vibrationsentspannung

 

Patent Erteilung 2019/1     Schweizerisches Patent Nr. 716 435

 

Patent Veröffentlichung    Information über die Veröffentlichung des Patents

 

Deutsche Patentanmeldung 2019/7     Deutsche Patentanmeldung 2019/7 Vibrationsvorrichtung und 

                                                                                     Vibrationsentspannung

 

                                                                                     16.09.2022 Stellung eines

                                                                                     Prüfungsantrags nach

                                                                                     der Einreichung der Anmeldung

 

 
Zusammenfassung

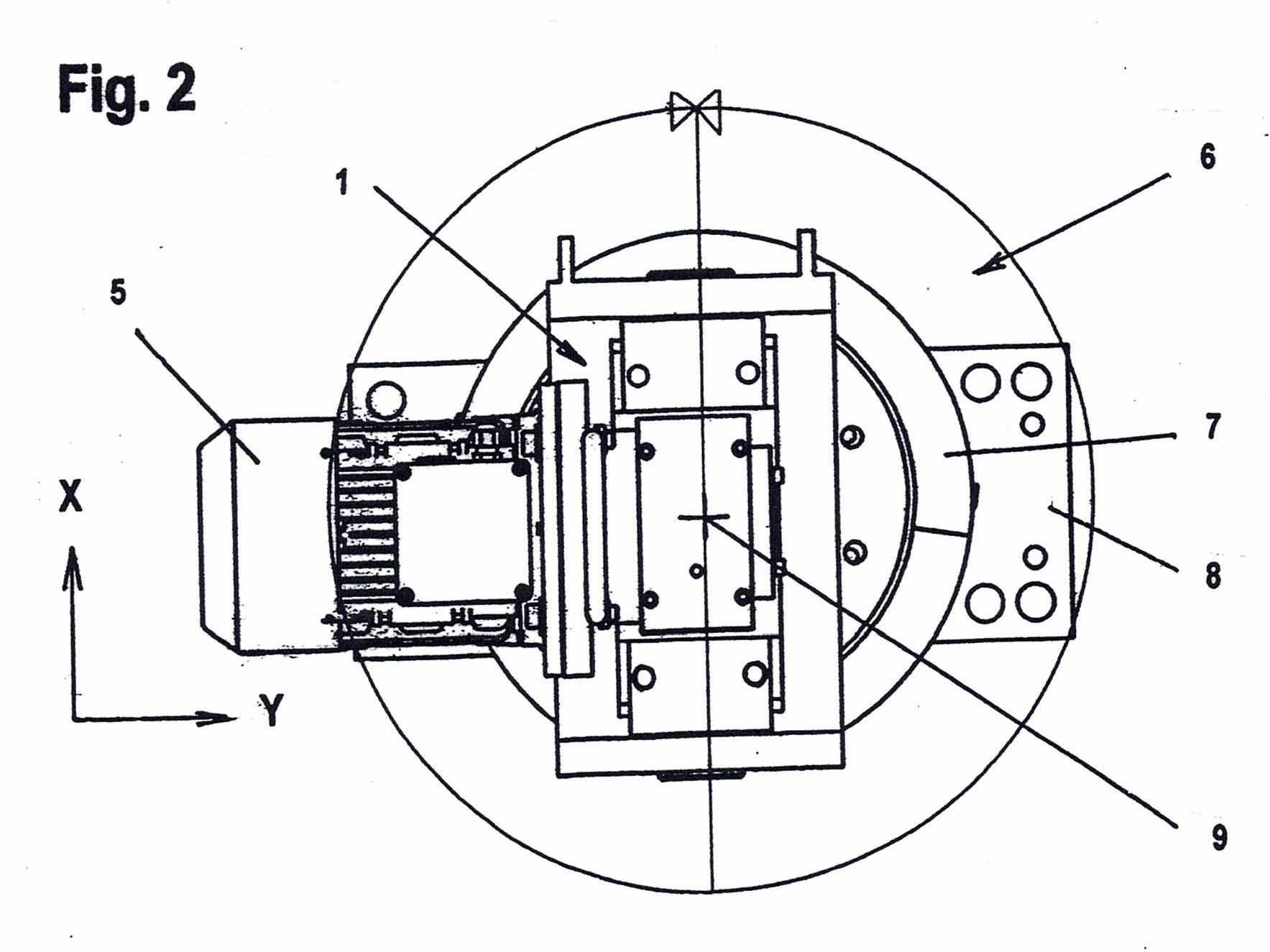
Die Erfindung bezieht sich auf Vorrichtung zur Vibrationsentspannung von Werkstücken mit mindestens einer Vibrationen erzeugenden Vibrationseinrichtung (1). Diese weist mindestens einen Exzenter (2) mit einem Antrieb auf, zum Beispiel einem Elektromotor. Die Vibration wird durch Unwucht bewirkt. Die Vibrationseinrichtung (1) ist an einer mehrachsigen Einrichtung angeordnet, die eine Drehrichtung (6) und eine Schwenkeinrichtung (10) aufweist. Dadurch ist die Dreh- und Schwenkposition und somit die Vibrationsachse gegenüber dem Werkstück beliebig mehrdimensional über 360º in alle Raumrichtungen verstellbar, ohne an bestimmte Winkel gebunden zu sein. Das ermöglicht fallweise auch ein Arbeiten mit sanfteren Vibrationen. Dank der erfindungsgemässen Vorrichtung lassen sich selbst komplexe Werkstücke sowie zum Zusammenbau bestimmte Bauteile unterschiedlichster Werkstoffe zuverlässig entspannen.

 

         

Home     Kontakt     Impressum     Sitemap